| CPC B65H 20/34 (2013.01) [B65H 5/062 (2013.01); B65H 23/1888 (2013.01); B65H 23/192 (2013.01); B65H 2513/11 (2013.01); B65H 2601/122 (2013.01); B65H 2601/254 (2013.01)] | 6 Claims |

|
1. A printing system comprising:
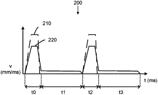
a drive roller to advance a medium towards a print engine at a first speed;
an output roller downstream the drive roller to receive the medium; and
a controller to:
advance the medium for a determined medium length by a rotation of the drive roller;
rotate the output roller in a winding direction at a second speed while the drive roller advances the medium, the second speed being lower than the first speed; and
subsequently, rotate the output roller in the winding direction at a third speed while the drive roller does not advance the medium, the third speed being lower than the second speed.
|