| CPC H05K 5/30 (2025.01) [H05K 5/0217 (2013.01); H01L 25/167 (2013.01)] | 14 Claims |

|
1. A display device, comprising:
at least two mount members fixable to a wall in a row; and
at least two display panels, coupleable to the at least two mount members, respectively, and while the at least two display panels are respectively coupled to the at least two mount members, the at least two display panels are slidable along the at least two mount members,
wherein the at least two display panels respectively include:
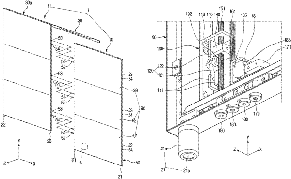
a base;
a docking plate, coupleable to a front of the base, having a front surface to which a plurality of display modules of the at least two display panels are coupleable; and
a step adjustment member, arrangeable on the base, and while the step adjustment member is arranged on the base, the docking plate which is coupled to the front of the base is moveable along a front direction or a rear direction of the base to change a distance between the docking plate and the base and adjust front surfaces of adjacent display panels, among the at least two display panels, relative to each other,
wherein the step adjustment member comprises a pushing member, the pushing member being among at least one of pushing members arrangeable in a left area and a right area of the base.
|