| CPC H04W 74/0816 (2013.01) [H04W 72/1263 (2013.01); H04W 74/002 (2013.01); H04W 74/0866 (2013.01)] | 20 Claims |

|
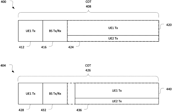
1. A method of operating a base station, the method comprising:
processing information received from a first user equipment (UE), to indicate the first UE has acquired a channel for a channel occupancy time (COT);
obtaining a portion of the channel during the COT for transmitting signals having user plane data to, or receiving signals from, a second UE; and
generating, for transmission to the first UE, an indication that the portion of the channel within the COT is obtained.
|