| CPC B60R 9/06 (2013.01) | 20 Claims |

|
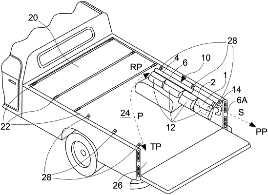
1. A multifunctional cargo management rail device for an open cargo space, comprising:
a mounting bracket configured for pivotable attachment about a side edge to a side wall of the open cargo space, wherein the mounting bracket is axially pivotable along a plane in parallel alignment to a floor of the open cargo space;
a mounting tube affixed to an upper portion proximate to a top edge of the mounting bracket, a bottom side of the mounting tube having a first longitudinal slot along a full length thereof, the first longitudinal slot being proximally aligned along a portion of the top edge of the mounting bracket such that the first longitudinal slot faces the open cargo space;
a rail tube having a distal end and a retrieval end configured for telescoping within the mounting tube such that a distal end of the rail tube is suspended along an upper portion of the side wall when received within the rail tube, the rail tube having a second longitudinal slot configured for aligned correspondence with the first longitudinal slot when the rail tube is telescoped in the mounting tube, and wherein the rail tube is configured to slide in a longitudinal direction along a linear track through the mounting tube such that the vertical panel passes through the first longitudinal slot to move from a retracted position to a protracted position; and
a vertical panel having one or more fastener members configured for releasable fastening of storage receptacles or gear, wherein the vertical panel is suspended below a thin rod dimensioned for seated engagement along the length the first longitudinal slot and the second longitudinal slot, and wherein the vertical panel is dimensioned so as to dispose the vertical panel between the rail tube and the floor of the open cargo space when the thin rod is inserted within the rail tube.
|