| CPC B60L 15/20 (2013.01) [B60L 2240/12 (2013.01); B60L 2240/14 (2013.01); B60L 2250/28 (2013.01); B60L 2260/22 (2013.01); B60L 2260/24 (2013.01)] | 20 Claims |

|
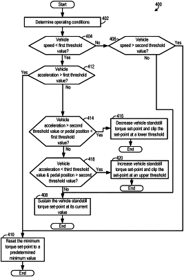
1. A method for operating a powertrain system, comprising:
selecting a driveline output torque set point at a vehicle standstill condition for the powertrain system that maps to a pedal position of an accelerator pedal;
adjusting the driveline output torque set point at the vehicle standstill condition based on vehicle speed and a position of an accelerator pedal; and
controlling the powertrain system based on the adjusted standstill driveline output torque;
wherein the vehicle standstill condition is a condition that occurs at zero vehicle speed and the accelerator pedal is at or approach 100% depression; and
wherein the accelerator pedal is a single pedal that controls both acceleration and braking.
|