| CPC G01S 7/4861 (2013.01) [G01S 17/10 (2013.01); G04F 10/005 (2013.01)] | 20 Claims |

|
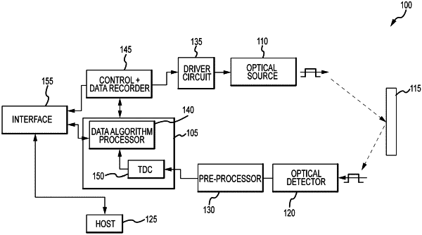
1. A system, comprising:
an optical source configured to transmit a source signal;
an optical receiver configured to receive a reflected source signal and generate a reception signal according to the reflected source signal;
a time-to-digital converter connected to the optical receiver and configured to convert the reception signal to a digital value; and
a processor connected to the time-to-digital converter, wherein the processor comprises a physical bin and wherein the processor is configured to histogram a plurality of virtual bins using the physical bin.
|