| CPC H01J 35/1024 (2019.05) [F16C 19/04 (2013.01); F16C 2380/16 (2013.01)] | 12 Claims |

|
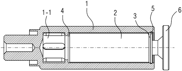
1. An X-ray tube bearing assembly, comprising:
a bearing housing including an accommodating cavity, wherein the bearing housing comprises a first portion and a second portion, the first portion having a different structural rigidity to that of the second portion; and
a bearing core accommodated in the accommodating cavity of the bearing housing, wherein the second portion surrounds and forms a portion of the accommodating cavity configured to accommodate the bearing core, the first portion extends out of the second portion and surrounds and forms another portion of the accommodating cavity, and the other portion of the accommodating cavity forms an accommodating hollow cavity.
|