| CPC H04R 1/1075 (2013.01) [H04R 1/1016 (2013.01); H04R 1/342 (2013.01); H04R 25/604 (2013.01); H04R 25/654 (2013.01)] | 15 Claims |

|
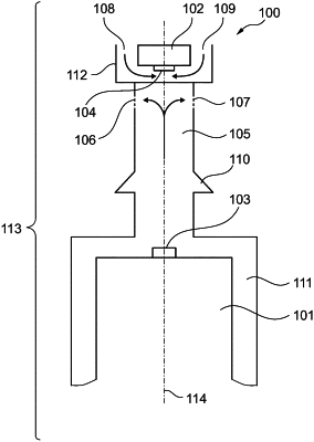
1. An acoustical assembly adapted to be inserted into an ear canal, said acoustical assembly comprising:
a receiver unit adapted to generate sound pressure waves,
a microphone unit adapted to detect sound pressure waves inside the ear canal when the acoustical assembly is inserted in the ear canal, and
a nozzle including a receiver unit mount adapted to house at least part of the receiver unit, wherein the nozzle includes at least one sound channel adapted to guide generated sound pressure waves from a receiver unit outlet opening to at least one sound outlet opening of the nozzle,
wherein the nozzle further includes a microphone unit mount adapted to house at least part of the microphone unit, and in that the microphone unit is arranged in the microphone unit mount in such a way that a sound inlet opening of the microphone unit is not oriented towards an ear drum when the acoustical assembly is inserted in the ear canal.
|