| CPC G01L 9/0054 (2013.01) [G01L 19/147 (2013.01); G01L 19/148 (2013.01); G01L 27/007 (2013.01)] | 20 Claims |

|
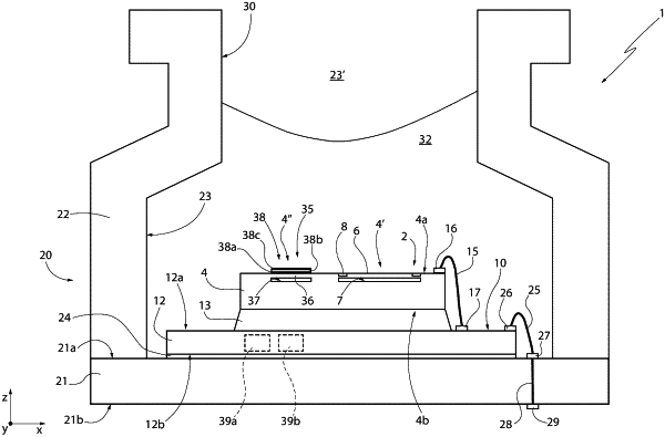
1. A device, comprising:
a first die including:
a pressure detection structure; and
an ultrasonic piezoelectric transduction structure;
a package contains the first die, the package including a base structure and a body structure on the base structure, the package having an access opening in fluid communication with an external environment, the package internally defining a housing cavity in which the first die is arranged and in which the first die is covered by a coating material within the package and
in the housing cavity,
wherein the piezoelectric transduction structure of the first die is configured to allow detection of foreign material on the coating material.
|