| CPC H04L 63/0884 (2013.01) [G06F 17/16 (2013.01); H04L 63/0838 (2013.01); H04L 63/0861 (2013.01)] | 17 Claims |

|
1. A method of passwordless authentication for a remote system by way of an authentication server, comprising:
a registration stage including
sending a request to the authentication server to use the passwordless authentication;
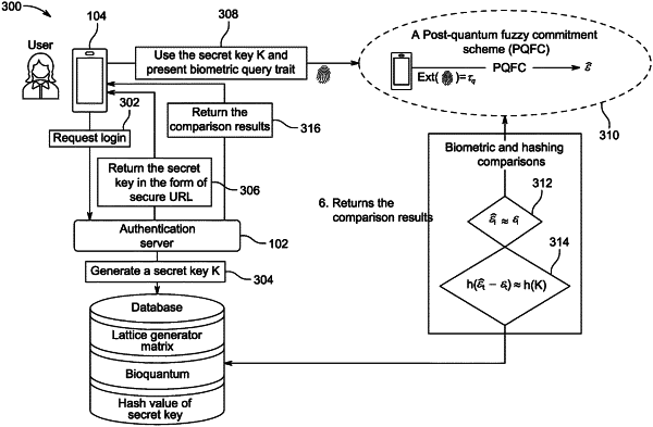
generating, by the authentication server, a lattice matrix, storing the lattice matrix in a database and returning a lattice generator matrix (LGM) to a user computing device;
computing, by the user computing device, a bioquantum of biometric data of a user based on the LGM using a post-quantum fuzzy commitment scheme (PQFC) and sending the bioquantum to the authentication server for storage in the database,
wherein the method further comprises:
an authentication stage including:
requesting to login, by sending a request for login to the authentication server, in order to login to a remote system;
sharing, by the authentication server, a one-time secret key with the user via a secure URL;
encapsulating, by the user computing device, the secret key with a biometric query to generate a new bioquantum;
performing, by the authentication server, two indirect comparisons:
first compare the new bioquantum against the stored bioquantum, and
second retrieve and compare hash values of the retrieved one-time secret key from the new bioquantum and the stored bioquantum; and
returning results of the indirect comparisons to the user computing device in order to authenticate the user and login to the remote system.
|