| CPC H04B 10/11 (2013.01) [H04B 10/03 (2013.01); H04B 10/032 (2013.01); H04B 10/038 (2013.01); H04B 10/1129 (2013.01)] | 15 Claims |

|
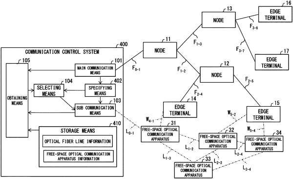
1. A communication control system comprising at least one processor,
the at least one processor executing:
a main communication process of carrying out communication with one or more targets through an optical fiber line;
a specifying process of specifying, from among the one or more targets, a free-space optical communication target on a basis of communication statuses in the main communication process;
a sub communication process of carrying out communication with the free-space optical communication target through at least one of free-space optical communication apparatuses;
an obtaining process of obtaining at least one of (i) a capacity of the communication with the free-space optical communication target in the main communication process, (ii) communication statuses of the free-space optical communication apparatuses, and (iii) processing capacities of the free-space optical communication apparatuses; and
a selecting process of selecting, in accordance with at least one of (i) the capacity of the communication, (ii) the communication statuses, and (iii) the processing capacities thus obtained, a path for free-space optical communication with the free-space optical communication target which is to be carried out in the sub communication process.
|