| CPC H02P 8/32 (2013.01) | 6 Claims |

|
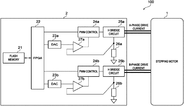
1. A motor control device, comprising:
a circuit configured to output a drive signal specifying a target drive current value, the target drive current value indicating a drive current provided to a stepping motor in a manner to rotate the stepping motor to a target drive position;
a digital to analog converter configured to generate a target voltage value based on the drive signal;
a comparator configured to output a comparison result between the target voltage value and a voltage value corresponding to the drive current provided to the stepping motor; and
a control signal generation unit configured to generate a control signal controlling the drive current provided to the stepping motor based on the comparison result, wherein
the circuit includes:
a first adjustment unit configured to adjust the drive signal in a manner that the drive current provided to the stepping motor changes from an initial value to a target drive current value over a longer time than a motor drive reference period, the motor drive reference period being a period until the stepping motor reaches the target drive position when the drive current provided to the stepping motor is instantly switched from the initial value to the target drive current value; and
a second adjustment unit configured to adjust the drive signal in a manner that the drive current provided to the stepping motor overshoots a maximum current value greater than the target drive current value for a predetermined period and then returns to the target drive current value.
|