| CPC H02K 3/345 (2013.01) [H02K 1/26 (2013.01); H02K 3/30 (2013.01); H02K 15/12 (2013.01)] | 12 Claims |

|
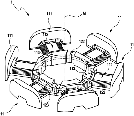
1. A pole cover for receiving and guiding a winding on a rotor of an electric motor, comprising:
a plurality of segments that extend in a radial direction to a center axis of the pole cover, wherein the segments are configured to receive a partial region of the winding of the electric motor, each of the segments having a winding region to receive the winding and a segment connection region for connecting to other segments, wherein the winding region and the segment connection region border on each other and the segment connection region is situated closer to the center axis than the winding region,
wherein the segment connection regions extend at least partially in a circumferential direction about the center axis and each segment connection region protrudes, in the circumferential direction about the center axis, beyond the winding region that adjoins the segment connection region; and
a plurality of decoupling regions, each decoupling region positioned between two segment connection regions in the circumferential direction about the center axis and each decoupling region being connected to the segment connection regions that adjoin the decoupling region or to other decoupling regions,
wherein the segments are made from a first plastic material and the decoupling regions are made from a second plastic material and the first plastic material is different from the second plastic material.
|