| CPC H01P 1/2084 (2013.01) [H01P 7/06 (2013.01); H01Q 23/00 (2013.01); H03H 9/54 (2013.01)] | 18 Claims |

|
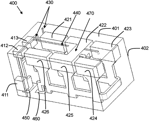
1. An integrated low-pass and band-pass filter unit comprising:
an inner cavity formed by a shell of conductive materials;
one or more low-pass resonators and two or more band-pass resonators comprised in the inner cavity, wherein the low-pass and band-pass resonators are integrally formed by electroplated sheet metal material, and a part of each of the low-pass and band-pass resonators is coated with dielectric material, and wherein the two or more band-pass resonators are arranged at two sides of the inner cavity such that at least two resonators are aligned to face each other;
a first separator of electroplated sheet metal arranged in the inner cavity between the low-pass resonators and band-pass resonators;
a second separator of electroplated sheet metal arranged in the inner cavity between the band-pass resonators at the two sides of the inner cavity;
an input port to receive a signal to be filtered; and
an output port to output a filtered signal.
|