| CPC H01L 23/5226 (2013.01) [H01L 23/528 (2013.01); H01L 23/53209 (2013.01)] | 20 Claims |

|
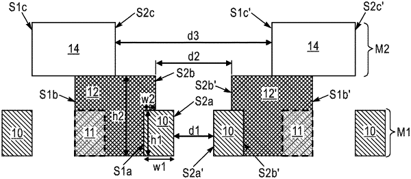
1. A structure comprising:
a first metal level comprising a first metal line;
a second metal level spaced apart from the first metal level and comprising a second metal line; and
a first metal via structure connecting the first metal line to the second metal line, the first metal via structure comprises a first portion located between a first outermost sidewall and a second outermost sidewall of the second metal line and a second portion that extends beyond the first outermost sidewall or the second outermost sidewall of the second metal line, wherein the first metal via structure directly contacts a sidewall surface and a horizontal surface of the first metal line.
|