| CPC H01F 27/2804 (2013.01) [H01F 27/24 (2013.01); H01F 30/10 (2013.01); H01F 2027/2809 (2013.01)] | 4 Claims |

|
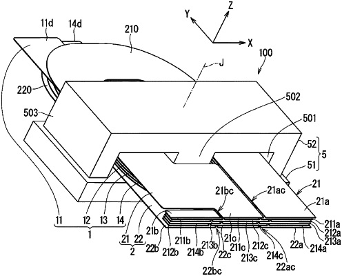
1. A transformer comprising:
a primary winding and a secondary winding that are insulated from each other,
the secondary winding including a first coil and a second coil that are conductively connected to each other, the first coil and the second coil being planar sheets of conductive material,
the primary winding including a third coil, the third coil being planar sheets of conductive material, and
all of the first coil, the second coil, and the third coil at least partially encircling one axis extending along a first direction,
wherein the first coil, the second coil, and the third coil are stacked in the first direction,
the first coil includes a first end and a second end,
the second coil includes a third end and a fourth end,
the secondary winding further includes a first conductor and a second conductor, the first conductor and the second conductor being planar sheets of conductive material,
the first conductor is sandwiched between the first end and the third end in the first direction so as to be conductively connected to the first end and the third end,
the second conductor is sandwiched between the second end and the fourth end in the first direction so as to be conductively connected to the second end and the fourth end,
a second direction is orthogonal to the first direction,
the first end and the second end are arranged adjacent to, but not in contact with, each other in the second direction,
the third end and the fourth end are arranged adjacent to, but not in contact with, each other in the second direction,
the first conductor and the second conductor are arranged adjacent to, but not in contact with, each other in the second direction,
a first position is different from at least one of a second position and a third position,
the first position is a position in the second direction of a boundary between the first conductor and the second conductor,
the second position is a position in the second direction of a boundary between the first end and the second end, and
the third position is a position in the second direction of a boundary between the third end and the fourth end.
|