| CPC B67D 3/0003 (2013.01) [B01F 33/846 (2022.01); B67C 3/023 (2013.01); B67D 3/0012 (2013.01); B67D 3/0077 (2013.01); B01F 2101/4505 (2022.01)] | 17 Claims |

|
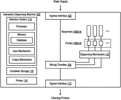
1. A method performed by an interactive system that includes (i) a plurality of reservoirs in which ingredients are stored, (ii) a plurality of dispensing elements that are able to controllably dispense the ingredients from the plurality of reservoirs, (iii) a chamber that includes a mixing implement and that is fluidly connected to the plurality of reservoirs, and (iv) a display, the method comprising:
receiving first input that is indicative of an instruction to produce a cleaning product;
obtaining, from a memory, a formula that specifies a first plurality of ingredients that are necessary to produce the cleaning product;
receiving, via an interface presented on the display, second input that is indicative of a lifestyle characteristic of an individual for whom the cleaning product is to be produced;
varying the formula based on the lifestyle characteristic of the individual;
identifying a second plurality of ingredients that are representative of the varied formula and amounts of the second plurality of ingredients to be dispensed from corresponding ones of the plurality of reservoirs to produce the cleaning product;
operating the plurality of dispensing elements such that the amounts of the second plurality of ingredients are dispensed into the chamber and the mixing implement such that the amounts of the second plurality of ingredients are mixed within the chamber to produce the cleaning product;
receiving third input that is indicative of a confirmation that a container is positioned adjacent an egress interface that is fluidly connected to the chamber;
dispensing, in response to receiving the third input, the cleaning product through the egress interface; and
storing, in the memory, the varied formula with an identifier that corresponds to the lifestyle characteristic.
|