| CPC B65H 5/02 (2013.01) [B65H 2402/441 (2013.01); B65H 2402/54 (2013.01)] | 10 Claims |

|
10. An image forming apparatus comprising
a sheet conveyor comprising
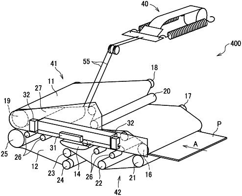
an open and close device including:
an open and close portion to open or shut;
a biasing mechanism to bias the open and close portion in an opening direction; and
a holder to hold the open and close portion shut,
the biasing mechanism including a first spring whose biasing force is invariable regardless of a stroke of the first spring, and a second spring whose biasing force is variable due to a stroke of the second spring,
the open and close portion including a conveyor to convey a sheet.
|