| CPC A41D 13/1107 (2013.01) [A41D 13/1161 (2013.01)] | 7 Claims |

|
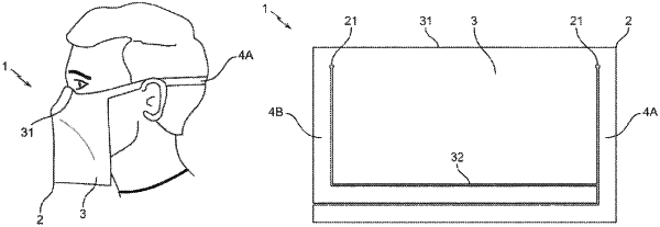
1. A device for protecting the respiratory tract and at least one part of a face of a user against projections, comprising:
a single flexible sheet, made of a material impermeable to said projections, and defining a strip having the overall shape of a rectangle or a square, the single flexible sheet further comprising at least two first straps, each first strap coming from an end of an upper edge, of said strip;
wherein the strip of the sheet is shaped to cover at least a nose and a mouth of the user, with the upper edge of said strip resting on the top of the nose or on a forehead of said user;
wherein the at least two first straps are formed from the single flexible sheet;
wherein the at least two first straps are at least partially defined by cuts provided in the single flexible sheet; and
wherein the at least two first straps are arranged to be tied together at a back of a head of the user while passing above ears of the user.
|