| CPC H01M 50/533 (2021.01) [H01M 50/103 (2021.01); H01M 50/15 (2021.01); H01M 50/536 (2021.01); H01M 50/55 (2021.01)] | 13 Claims |

|
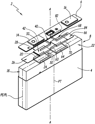
1. An electrochemical assembly of the type comprising
a first stack of electrochemical elements provided with a first electrical connection tab with a first polarity, the first stack of electrochemical elements extending along a stacking plane,
a second stack of electrochemical elements provided with a second electrical connection tab with the first polarity, the second stack of electrochemical elements extending along the stacking plane,
a first common connection element electrically connecting the first electrical connection tab and the second electrical connection tab, and electrically connecting the first electrical connection tab and the second electrical connection tab to an electrical connection terminal with the first polarity, wherein the first common connection element comprises a first electrical connection rib fastened to the first electrical connection tab and a second electrical connection rib fastened to the second electrical connection tab,
a first support component forming a first support element and a second support element, the first support component comprising at least one central core arranged between the first support element and the second support element,
wherein
the first electrical connection tab is arranged between the first electrical connection rib and the first support element,
the second electrical connection tab is arranged between the second electrical connection rib and the second support element, and
the second electrical connection tab and the second electrical connection rib extend substantially parallel to the stacking plane.
|