| CPC G06F 9/3824 (2013.01) | 20 Claims |

|
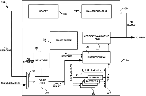
1. A method, comprising:
performing, by a network interface controller (NIC), a first lookup operation in an on-NIC match-action table based on a header of a received packet;
in response to finding a matching entry in the on-NIC match-action table, processing the received packet based on an action indicated in the matching entry;
in response to not finding a matching entry in the on-NIC match-action table, forwarding at least a portion of the received packet to a processor coupled to the NIC;
receiving, from the processor, a result of a second lookup operation performed in an off-NIC match-action table, the result indicating a second action; and
processing the received packet based on the second action.
|