| CPC G01N 15/0211 (2013.01) | 20 Claims |

|
1. An apparatus for measuring particles in a sample gas, said apparatus comprising:
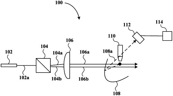
a light source for emitting a first optical beam;
a first optical beam splitter configured to split the first optical beam into a first component polarized optical beam and a second component polarized optical beam, wherein the splitting the first polarized optical beam into the first component and the second component polarized optical beams comprises deflecting the first component polarized optical beam from the second component polarized optical beam at a first angle;
a first lens configured to collect the first component and the second component polarized optical beams and focus each of the first component and the second component polarized optical beams to an interrogation region, wherein the first optical beam splitter is positioned at the first lens focal point;
an inlet positioned adjacent to the interrogation region to deliver the sample gas comprising the particles to the interrogation region, wherein the inlet comprises a channel configured to restrict flow of the sample gas to a single particle gas stream through the interrogation region, wherein the single particle gas stream flowing through the interrogation region scatters the first component and the second component polarized optical beams;
a first mirror positioned adjacent to paths traversed by the first component and the second component polarized optical beams to reflect a first scattered optical beam scattered from the first component polarized optical beam and a second scattered optical beam scattered from the second component polarized optical beam, wherein an axis perpendicular to a plane of the first mirror intersects the paths traversed by the first component and the second component polarized optical beams at a non-perpendicular second angle, wherein the first mirror focal point is positioned at the interrogation region;
a first photodetector positioned to measure the first and the second scattered optical beams from the first mirror and produce corresponding first and second signals; and
a processor, responsive to the first and the second signals from the first photodetector, for calculating intensity and time separation of the first and the second scattered optical beams, wherein the processor, responsive to said intensity and time separation of the first and the second scattered optical beams, determines velocity and aerodynamic diameter of the particles in the sample gas.
|