| CPC B62M 9/02 (2013.01) [B62M 9/00 (2013.01); F16H 55/30 (2013.01); F16H 2055/306 (2013.01)] | 6 Claims |

|
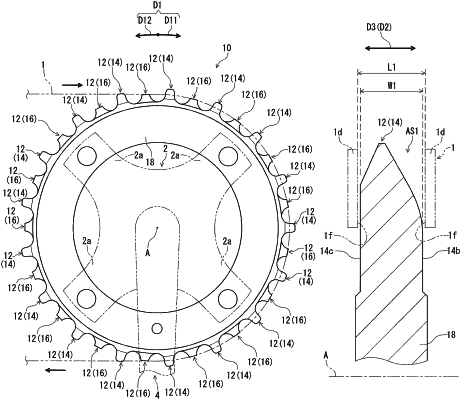
1. A bicycle sprocket comprising:
a plurality of sprocket teeth including:
at least one first tooth configured to engage with outer link plates of a bicycle chain and having a first radial-tooth height, the at least one first tooth having a first chain-engaging axial width which is smaller than a first distance defined between opposed outer link plates of the bicycle chain and which is larger than a second distance defined between opposed inner link plates of the bicycle chain, the first radial-tooth height being greater than the first chain-engaging axial width, the at least one first tooth having a first chain-engaging surface and a second chain-engaging surface, the first chain-engaging surface and the second chain-engaging surface facing in an axial direction parallel to a rotational center axis of the bicycle sprocket, and
at least one second tooth adjacent to the first tooth, the at least one second tooth being configured to engage with inner link plates of the bicycle chain, the at least one second tooth having a second radial-tooth height, the at least one second tooth having a second chain-engaging axial width which is smaller than the second distance, the second radial-tooth height being greater than the second chain-engaging axial width;
the first radial-tooth height being greater than the second radial-tooth height,
the at least one first tooth being asymmetric between the first chain-engaging surface and the second chain-engaging surface in the axial direction at a radial location beyond the second radial-tooth height, and
the at least one first tooth are symmetric between the first chain-engaging surface and the second chain-engaging surface in the axial direction at all radial locations less than the second radial-tooth height.
|