| CPC A61B 17/1114 (2013.01) [A61B 17/0482 (2013.01); A61B 2017/1103 (2013.01); A61B 2017/1135 (2013.01)] | 20 Claims |

|
1. A system for anchoring tissue within a patient's body, said system comprising:
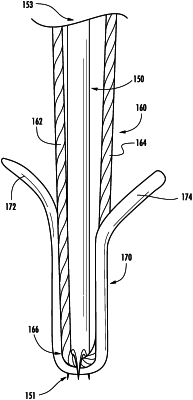
a flexible elongate member having at least one lumen defined therethrough;
a first tissue-penetrating element having a distal end;
a first anchoring element including a suture having a length extending proximally from the distal end of the first tissue-penetrating element, longitudinally along the exterior of the first tissue-penetrating element, and to a proximal end accessible outside the patient's body by a medical professional;
a second tissue-penetrating element; and
a second anchoring element;
wherein:
said suture and said second tissue-penetrating element are sized to extend through said flexible elongate member simultaneously with said suture serving as a target for delivery of said second anchoring element;
said first anchoring element includes a suture anchor extending distal to, across, and around the exterior of the distal end of said first tissue-penetrating element; and
said suture anchor includes a flexible portion with wings formed from a soft material and which flare outwardly from a collapsed configuration against the exterior of the first tissue-penetrating element upon deployment and in response to proximal pulling on the proximal end of said suture to cause said wings to extend across the tissue to provide a greater surface area for contact with the tissue than provided by said suture, the soft material of said wings not damaging the tissue when pulled in tension against the tissue.
|