| CPC H10N 60/815 (2023.02) | 10 Claims |

|
1. A quantum device comprising:
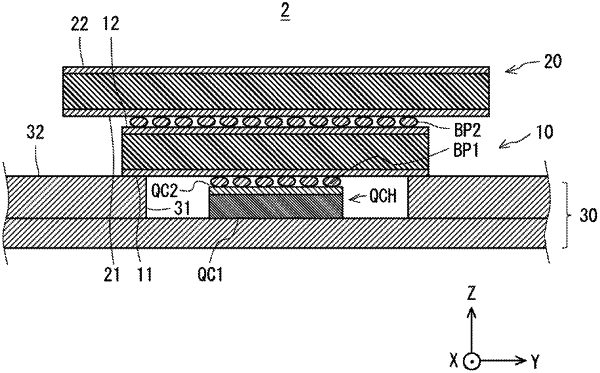
a quantum chip with a first surface and a second surface located on a side opposite to the first surface, in the quantum chip, at least a part of a qubit circuit being provided on the second surface;
a first interposer with a third surface and a fourth surface located on a side opposite to the third surface, the first interposer being connected to the quantum chip such that the second surface of the quantum chip is opposed to the third surface of the first interposer; and
a second interposer with a fifth surface and a sixth surface located on a side opposite to the fifth surface, the second interposer being connected to the first interposer such that the fourth surface of the first interposer is opposed to the fifth surface of the second interposer, wherein
the quantum chip is disposed inside a recessed part formed in a sample table having a cooling function, and
a part of at least one of the first interposer and the second interposer is in contact with the sample table.
|