| CPC H04W 76/11 (2018.02) [H04W 8/08 (2013.01); H04W 48/16 (2013.01); H04W 72/1263 (2013.01); H04W 76/27 (2018.02)] | 20 Claims |

|
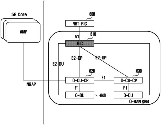
1. A method performed by a node of an open-radio access network (O-RAN) central unit-control plane (O-CU-CP) in a communication system, the method comprising:
receiving, from a near real-time radio access network intelligence controller (Near-RT RIC), a RIC subscription request message;
transmitting, to the Near-RT RIC, a RIC subscription response message in response to the RIC subscription request message; and
when an event of the Near-RT RIC is generated, transmitting, to the Near-RT RIC, an indication message for report,
wherein the indication message includes at least one user equipment (UE) identifier (ID) and information for each of the at least one UE ID, and
wherein the at least one UE ID includes a RAN UE ID for identifying a UE over E1 interface between the O-CU-CP and an O-RAN CU-user plane (O-CU-UP).
|