| CPC H02M 1/08 (2013.01) [G01R 31/2882 (2013.01)] | 26 Claims |

|
1. A testing method comprising:
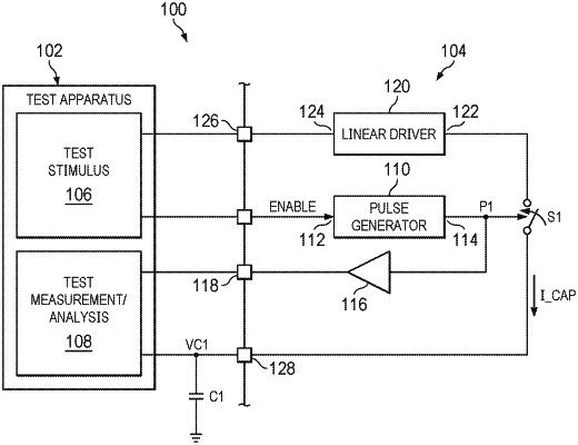
connecting a capacitor having a first capacitance to an output terminal of an integrated circuit (IC);
generating a pulse signal responsive to an enable signal provided at at least one input terminal of the IC;
measuring a no-load delay representative of a time difference between a start of the enable signal and a start of the pulse signal;
providing a drive signal to the output terminal to cause a linearly increasing voltage across the capacitor responsive to the pulse signal;
measuring the linearly increasing voltage at the output terminal responsive to the drive signal;
determining a first capacitance charge time for the capacitor responsive to the linearly increasing voltage reaching a threshold; and
determining a second capacitance charge delay for a second capacitance based on the first capacitance charge time and the no-load delay.
|