| CPC H02J 7/007188 (2020.01) [F02D 19/0615 (2013.01); F02D 29/06 (2013.01); H02J 7/0048 (2020.01); H02J 7/00712 (2020.01); F02D 2200/025 (2013.01)] | 18 Claims |

|
1. A method comprising:
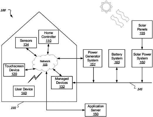
receiving, by a controller, a request to activate a power generator;
determining a battery level of a battery, wherein the battery and the power generator collectively provide energy to one or more devices;
maintaining, by the controller, sensor data that was captured by one or more sensors physically located within a threshold distance of the power generator;
in response to receiving the request to activate the power generator, determining, by the controller and using the sensor data, whether human activity is detected within an area that includes the power generator; and
in response to determining that human activity is detected within the area that includes the power generator:
controlling, by the controller, an activation of the power generator, the controlling comprising sending a command to commence the activation of the power generator;
determining whether the battery level is in a critical range based on a critical level threshold; and
after activating, reducing a power generation output of the power generator from a first non-zero output value to a second, lower non-zero output value when human activity is detected around the power generator and the battery level is not in the critical range.
|