| CPC H02G 3/0406 (2013.01) [B60R 16/0215 (2013.01); H02G 3/0481 (2013.01)] | 5 Claims |

|
1. A wire harness comprising:
a first electric wire assembly;
a second electric wire assembly;
a pipe into which the first and second electric wire assemblies are inserted;
a holder that is fixed to a longitudinal end of the pipe, holds the first and second electric wire assemblies, and is inserted into the pipe such that an outer circumferential surface of the holder faces an inner circumferential surface of the pipe; and
a heat-shrinkable tube that has heat-shrinkability and is fixed to an outer peripheral surface of each of the first and second electric wire assemblies,
wherein the holder includes at least a pair of engagements that engage with the heat-shrinkable tube of each of the first and second electric wire assemblies to restrict movement of the first and second electric wire assemblies in a longitudinal direction relative to the holder inside the pipe,
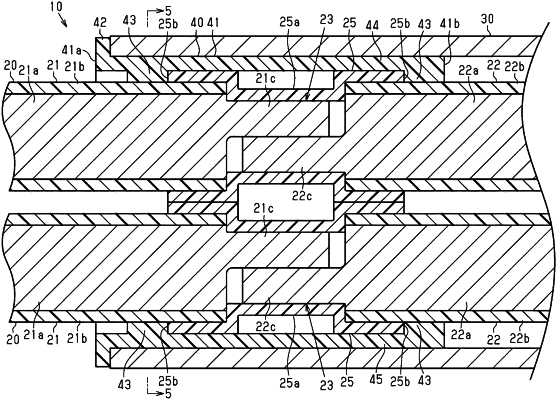
wherein the first electric wire assembly is formed by connecting a first electric wire and a second electric wire extending in the longitudinal direction of the first electric wire assembly, and the second electric wire assembly is formed by connecting a third electric wire and a fourth electric wire extending in the longitudinal direction,
the first electric wire includes a first core wire and a first insulating coating covering an outer periphery of the first core wire,
the second electric wire includes a second core wire and a second insulating coating covering an outer periphery of the second core wire,
the third electric wire includes a third core wire and a third insulating coating covering an outer periphery of the third core wire,
the fourth electric wire includes a fourth core wire and a fourth insulating coating covering an outer periphery of the fourth core wire,
the first electric wire assembly includes a first joint joining the first core wire and the second core wire, and the second electric wire assembly includes a second joint joining the third core wire and the fourth core wire,
the heat-shrinkable tube of the first electric wire assembly covers the first insulating coating and the second insulating coating while covering the first joint, and the heat-shrinkable tube of the second electric wire assembly covers the third insulating coating and the fourth insulating coating while covering the second joint,
the heat-shrinkable tube of the first electric wire assembly has a first recess in a part corresponding to the first joint, and the heat-shrinkable tube of the second electric wire assembly has a second recess in a part corresponding to the second joint, and
the pair of engagements are respectively fitted into the first and second recesses to be engageable with both longitudinal end faces in each of the first and second recesses.
|