| CPC H02B 7/00 (2013.01) [E21B 43/2607 (2020.05); F04B 17/03 (2013.01); H02B 13/00 (2013.01)] | 19 Claims |

|
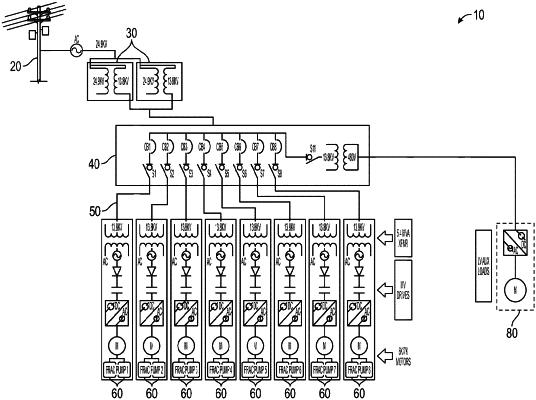
8. A method comprising:
accessing power from a utility electric grid;
operating at least two transformer units, in parallel, to modify line voltage of the power from the utility electric grid;
transmitting the power from the at least two transformer units through a switchgear to an electric motor via an open air relay cable; and
performing a hydraulic fracturing action via a hydraulic fracturing pump using the power within the electric motor.
|