| CPC H01Q 19/02 (2013.01) [H01Q 1/085 (2013.01); H01Q 1/2291 (2013.01); H01Q 1/48 (2013.01)] | 13 Claims |

|
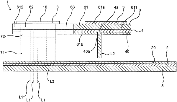
1. An antenna device comprising:
a ground electrode plate;
one or more first radiating electrode plates which face the ground electrode plate;
a second radiating electrode plate between the ground electrode plate and the one or more first radiating electrode plates;
one or more first feeder lines connected to the one or more first radiating electrode plates;
a second feeder line which is not connected to the one or more first feeder lines, and which is connected to the second radiating electrode plate;
a ground line which does not connect the one or more first radiating electrode plates to the ground electrode plate, and which does connect the second radiating electrode plate to the ground electrode plate; and
a protruding portion which extends from the ground electrode plate toward the second radiating electrode plate,
wherein the one or more first radiating electrode plates are inside a region defined by a perimeter of the second radiating electrode plate as viewed in a plan view in a thickness direction of the ground electrode plate, and
wherein the protruding portion is on an opposite side of a junction of the second feeder line and the second radiating electrode plate from a junction of the ground line and the second radiating electrode plate, as viewed in the plan view.
|