| CPC G06T 3/4007 (2013.01) [G06T 5/50 (2013.01); G06T 2207/10024 (2013.01); G06T 2207/20216 (2013.01); G06T 2207/20224 (2013.01)] | 17 Claims |

|
1. An information processing apparatus comprising: a memory storing a program, and at least one processor configured to execute the program to perform operations comprising:
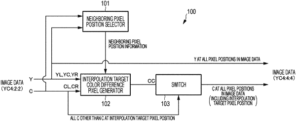
generating, on a basis of a relationship between a luminance pixel at an interpolation target pixel position that is a pixel position at which a first color difference pixel does not exist and an other luminance pixel at a neighboring pixel position of a plurality of pixel positions near the interpolation target pixel position in image data, an interpolation target color difference pixel corresponding to the first color difference pixel at the interpolation target pixel position,
wherein the image data is generated on a basis of three primary color pixels configured to include a value greater than a predetermined white clip value, the image data having a number of luminance pixels larger than a number of first color difference pixels and a number of second color difference pixels; using a positive correlation between a value of the luminance pixel and a magnitude of a value of the first color difference pixel on a basis of a relationship between the value of the luminance pixel at the interpolation target pixel position and the value of the other luminance pixel at the neighboring pixel position; using a linear relationship as the positive correlation on a basis of the relationship between the value of the luminance pixel at the interpolation target pixel position and the value of the other luminance pixel at the neighboring pixel position; and calculating an average value of multiplication values of a ratio of the value of the luminance pixel at the interpolation target pixel position to the value of the other luminance pixel at the neighboring pixel position and values of color difference pixels at a plurality of neighboring pixel positions and generating the interpolation target color difference pixel.
|