| CPC G06F 3/1423 (2013.01) [B60K 35/10 (2024.01); B60K 35/215 (2024.01); B60K 35/22 (2024.01); B60K 35/26 (2024.01); B60K 35/29 (2024.01); B60K 35/50 (2024.01); B60K 35/80 (2024.01); G06F 9/451 (2018.02); B60K 2360/128 (2024.01); B60K 2360/1434 (2024.01)] | 11 Claims |

|
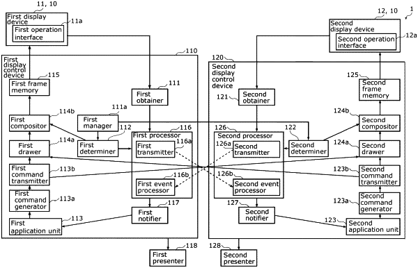
1. A display control system comprising a plurality of display control devices each corresponding to a different one of a plurality of display devices, the display control system causing the plurality of display control devices to operate in coordination with each other to cause the plurality of display devices to display a same application, wherein
each of the plurality of display control devices includes:
an obtainer that obtains an input event that is an input to an application according to an operation;
a processor that outputs the input event obtained to at least another one of the plurality of display control devices; and
a notifier that notifies an application unit of the input event when the processor obtains the input event from a display control device which has output the input event among the plurality of display control devices,
the application performs processing that is common among the plurality of display control devices for causing the plurality of display devices to display the same application,
each of the plurality of display devices includes an operation interface that outputs the input event when the operation interface is operated, and
the processor:
accepts the operation from a predetermined operation interface with a highest priority out of two or more operation interfaces of a plurality of operation interfaces of the plurality of display devices, when two or more of the plurality of display devices display the same application, and an input for operating the same application is made to the two or more operation interfaces; and
notifies the application unit via the notifier of the input event from the predetermined operation interface with the highest priority.
|