| CPC G06F 3/0659 (2013.01) [G06F 3/0604 (2013.01); G06F 3/0638 (2013.01); G06F 3/0673 (2013.01)] | 25 Claims |

|
1. A memory device, comprising:
one or more components configured to:
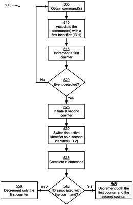
obtain, from a host device, a first one or more commands;
store information associated with the first one or more commands using a first identifier and a first counter that is associated with tracking active commands from the host device;
detect an event associated with at least one of the host device, the memory device, or a command;
initiate, based on detecting the event, a second counter associated with the first identifier and one or more active commands associated with the first identifier as indicated by the first counter at a time prior to detecting the event, wherein the one or more components, to initiate the second counter, are configured to:
store, for the second counter, a counter value and an indication of commands, from the first one or more commands, that are stored in association with the first counter at the time prior to detecting the event; and
maintain the second counter based on tracking completed commands that are associated with the first identifier;
obtain, from the host device, a second one or more commands after detecting the event; and
store information associated with the second one or more commands using a second identifier and the first counter.
|