| CPC G02B 7/021 (2013.01) | 18 Claims |

|
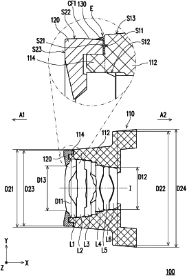
1. A lens barrel, comprising:
a lens barrel surrounding wall surrounding an optical axis, the lens barrel surrounding wall comprises a lens element accommodating portion abutted against a plurality of lens elements, the lens barrel surrounding wall has an object side connecting surface closest to an object side and facing the object side, and an inner diameter of the lens element accommodating portion closest to the object side is greater than an inner diameter of the lens element accommodating portion closest to an image side; and
a cover member having an image side connecting surface facing the image side, and the image side connecting surface of the cover member is fixed on the object side connecting surface of the lens barrel surrounding wall, wherein a maximum outer diameter of the cover member is less than or equal to a maximum outer diameter of the lens barrel surrounding wall,
wherein the lens barrel further satisfies the following conditional formula: (R1−R3)/(R3−R2)≤0.500, wherein R1 is the inner diameter of the lens element accommodating portion closest to the object side, R3 is an inner diameter of the lens element accommodating portion corresponding to a position at half of a distance between the lens element accommodating portion closest to the object side and the lens element accommodating portion closest to the image side along the optical axis, and R2 is the inner diameter of the lens element accommodating portion closest to the image side.
|