| CPC G02B 6/29338 (2013.01) [G02B 6/12007 (2013.01); G02B 6/29395 (2013.01); H01L 25/167 (2013.01)] | 20 Claims |

|
1. An optoelectronic system, comprising:
a first substrate;
a second substrate over the first substrate;
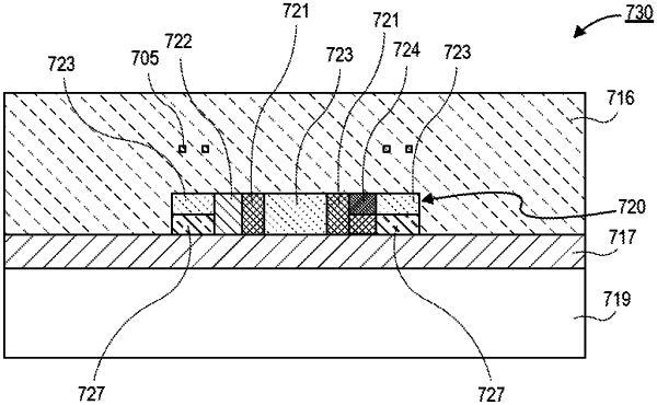
a micro-ring resonator (MRR) over the second substrate;
a heater integrated into the MRR;
a cladding over the MRR; and
a temperature sensor over the MRR in the cladding.
|