| CPC G02B 6/125 (2013.01) [G02B 6/13 (2013.01)] | 25 Claims |

|
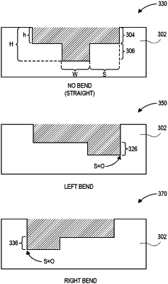
1. An optical waveguide comprising:
a layer of glass having a first side and a second side opposite the first side;
a first trench extending from the first side of the layer of glass toward the second side of the layer of glass, a bottom of the first trench at a first depth from the first side of the layer of glass;
a second trench extending from the bottom of the first trench toward the second side of the layer of glass, a bottom of the second trench at a second depth from the first side of the layer of glass, wherein a portion of the second trench is asymmetric from a corresponding portion of the first trench; and
a core material disposed within the first trench and the second trench.
|