| CPC G02B 6/0026 (2013.01) [G02B 6/0025 (2013.01); G02B 6/003 (2013.01); G02B 6/0031 (2013.01); G02B 6/0068 (2013.01); G02B 6/0076 (2013.01)] | 6 Claims |

|
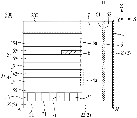
1. An electronic device, comprising:
a back board including a base, a side portion, and a top portion, wherein in a cross section view, an extension direction of the side portion is different from an extension direction of the base and an extension direction of the top portion; wherein an end of the side portion is connected to the base and another end of the side portion is connected to the top portion;
a plurality of light emitting units arranged on the base;
an optical film arranged on the plurality of light emitting units; and
a reflective component arranged on the base and including a first surface,
wherein in a normal direction of the electronic device, a distance between a top surface of the top portion and a top surface of the base is greater than a distance between a top surface of the optical film and the top surface of the base, and a thickness of the reflective component is less than a thickness of the side portion;
wherein a color measurement according to the CIE, the first surface of the reflective component has a brightness ranging from 70 to 100, a first chromaticity ranging from −10 to 10, and a second chromaticity ranging from −10 to 10; and
wherein in the normal direction of the electronic device, the optical film overlaps the plurality of light emitting units.
|