| CPC G01S 17/08 (2013.01) [G01S 17/89 (2013.01); G01S 17/931 (2020.01)] | 15 Claims |

|
1. An electronic apparatus comprising:
a sensor including a plurality of pixels;
a first light source;
a second light source;
one or more processors; and
memory storing one or more programs including instructions that, when executed by the one or more processors, cause the electronic apparatus to:
irradiate a first light from the first light source in a forward horizontal direction,
irradiate a second light from the second light source in a forward downward direction that is declined by a predetermined angle from the forward horizontal direction,
based on the second light being irradiated from the second light source and reflected while the first light is irradiated from the first light source and reflected, identify reflected light being received by the sensor as first reflected light based on a position of a row of first pixels receiving the first reflected light among the plurality of pixels, and as second reflected light based on a position of a row of second pixels receiving the second reflected light among the plurality of pixels,
calculate, based on the reflected light identified as the first reflected light, a first distance that is between the first light source and where the first light is reflected,
calculate, based on the reflected light identified as the second reflected light, a second distance that is between the second light source and where the second light is reflected, and
identify whether the first light and the second light are reflected by a same object or different objects, based on the calculated first distance and the calculated second distance,
wherein a location of the first light source is different from a location of the second light source,
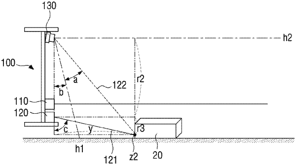
wherein the first distance is calculated using a first equation, the first equation being y1=r1×tan(a1+b), with y1 being the first distance, r1 being a distance between the first light source and the sensor, a1 being a first angle identified based on the position of the row of the first pixels receiving the first reflected light among the plurality of pixels, and b being an installation angle of the sensor, and
wherein the second distance is calculated using a second equation, the second equation being y2=r2×tan(a2+b)×tan(c)/(tan(c)−tan(a2+b)), with y2 being the second distance, r2 being a distance between the second light source and the sensor, a2 being a second angle identified based on the position of the row of the second pixels receiving the second reflected light among the plurality of pixels, b being the installation angle of the sensor, and c being an irradiation angle of the second light source.
|