| CPC G01S 13/42 (2013.01) [G01S 13/931 (2013.01); G01S 2013/932 (2020.01)] | 15 Claims |

|
1. A method comprising:
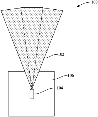
acquiring radar data from a radar sensor mounted on a vehicle;
determining at least one of a speed of the vehicle or a steering wheel angle of the vehicle; and
determining a subset of the radar data for processing based on the at least one of the speed of the vehicle or the steering wheel angle of the vehicle,
wherein the radar data comprises data within a range dimension and an angle dimension;
wherein the subset comprises a subset along the range dimension; and
wherein:
the subset further comprises a subset along the angle dimension;
the subset comprises a subset along the range dimension based on the speed of the vehicle; and
for a speed below a first speed threshold, the range dimension is limited to a first range limit.
|