| CPC G01S 7/526 (2013.01) [G01S 7/52004 (2013.01); G01S 15/93 (2013.01); G01N 2291/014 (2013.01); G01S 2007/52007 (2013.01); G01S 2015/937 (2013.01)] | 14 Claims |

|
1. A method of transmitting and receiving from an ultrasonic sensor, the ultrasonic sensor transmitting probe waves, which are ultrasonic waves, and acquiring detection waves that include reflected waves which have been reflected from surrounding objects, the method comprising:
transmitting the probe waves and acquiring the detection waves from a single transmitter/receiver;
executing filter processing of the detection waves in which frequencies within a predetermined frequency band that includes the frequency of the probe waves are passed;
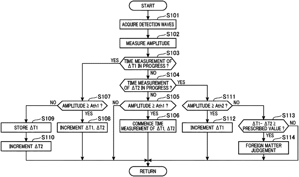
measuring an amplitude of the detection waves that are transmitted during a reverberation interval of the transmitter/receiver, the reverberation interval comprising a time interval after termination of transmission of the probe waves; and
executing a judgement of whether foreign matter is adhered to the transmitter/receiver, the judgement being determined based on a relationship between a time axis and values of the amplitude of the detection waves of the transmitter/receiver during the reverberation interval, wherein
the judgement of whether foreign matter is adhered to the transmitter/receiver comprises:
acquiring, as the relationship between the time axis and the amplitude, an interval extending from the point at which the amplitude falls below a first threshold value until the amplitude falls below a second threshold value; and
executing the judgement of whether foreign matter is adhered to the transmitter/receiver based on a length of the acquired interval.
|