| CPC G01S 7/52006 (2013.01) [B06B 1/0215 (2013.01); G01S 7/529 (2013.01); G01S 15/10 (2013.01); G01S 15/931 (2013.01); B06B 2201/40 (2013.01); B06B 2201/55 (2013.01)] | 11 Claims | 

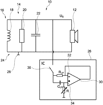
| 1. An ultrasonic transducer comprising a piezo element for use on a vehicle, comprising: an actuation and evaluation circuit for producing an actuation voltage for the piezo element that produces and emits an ultrasonic signal depending on the actuation voltage, and for outputting an output signal on the basis of an echo signal received at the piezo element; and a gyrator circuit for continuously providing a compensation inductance for adjusting the actuation and evaluation circuit for compensating for a parasitic connection capacitance of the piezo element, wherein the gyrator circuit is configured with a variable compensation inductance, and wherein the gyrator circuit comprises a switching apparatus to connect and isolate the compensation inductance to and from the actuation voltage. |