| CPC C23C 16/45574 (2013.01) [C23C 16/4408 (2013.01); C23C 16/45551 (2013.01)] | 10 Claims |

|
1. A nozzle head for subjecting a surface of a substrate to alternate surface reactions of at least two precursors (A, B) according to principles of atomic layer deposition, the nozzle head comprising:
an output face via which gas is supplied towards the surface of the substrate and discharged from the surface of the substrate;
at least one gas supply nozzle arranged to supply gas towards the surface of the substrate; and
at least one discharge nozzle arranged to discharge gas from the surface of the substrate via the output face,
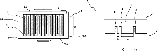
the nozzle head comprises on the output face in the following order: a first zone end nozzle, a gas supply nozzle and a second zone end nozzle, repeated one or more times on the output face,
the first zone end nozzle is a discharge nozzle and is connected to a vacuum device for discharging gas from the surface of the substrate via the first zone end nozzle,
the second zone end nozzle is a discharge nozzle and is connected to a vacuum device for discharging gas from the surface of the substrate via the second zone end nozzle,
the gas supply nozzle is a precursor nozzle and is connected to a precursor source for supplying precursor to the surface of the substrate via the gas supply nozzle, the gas supply nozzle is provided between the first zone end nozzle and the second zone end nozzle,
wherein a gas outlet of the first zone end nozzle, a gas outlet of the second zone end nozzle, a gas outlet of the gas supply nozzle, and the output face are all within a common plane,
wherein the gas outlet of the first zone end nozzle is arranged at a first distance (LY) from the gas outlet of the gas supply nozzle, and the gas outlet of the second zone end nozzle is arranged at a second distance (LX) from the gas outlet of the gas supply nozzle, and
wherein the second distance (LX) is at least 1.5 times greater than the first distance (LY).
|