| CPC C23C 16/45565 (2013.01) [C23C 16/45536 (2013.01); H01J 37/32201 (2013.01); H01J 37/3222 (2013.01); H01J 37/3244 (2013.01); H01J 37/32477 (2013.01); H01J 2237/3321 (2013.01); H01J 2237/3323 (2013.01)] | 19 Claims |

|
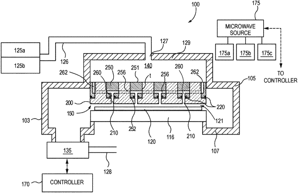
1. A plasma showerhead assembly comprising:
a conductive plate including a first surface and a second surface opposite to the first surface defining a conductive plate thickness, a plurality of resonator openings extending through the conductive plate thickness, a plurality of gas channels formed between the first surface and the second surface of the conductive plate, and a plurality of conductive plate gas openings extending from the second surface of the conductive plate in fluid communication with the plurality of gas channels;
a dielectric faceplate comprising a first surface and a second surface opposite to the first surface defining a dielectric faceplate thickness, a plurality of dielectric resonators protruding from the first surface and arranged in a pattern and configured to mount through the plurality of resonator openings when assembled, each of the plurality of dielectric resonators having geometric center and an opening to receiving a microwave antenna; a plurality of dielectric faceplate gas openings extending through the dielectric faceplate thickness in fluid communication with the plurality of the conductive plate gas openings;
a plurality of o-rings surrounding the conductive plate gas openings and the dielectric faceplate gas openings and configured to seal the dielectric faceplate gas openings and the conductive plate gas openings from atmospheric pressure; and
a conductive insert having a length disposed within at least one of the plurality of dielectric faceplate gas openings, the conductive insert having a length with an aperture extending through the length of the conductive insert, the aperture having an inner diameter.
|