| CPC C23C 16/45565 (2013.01) [C23C 16/455 (2013.01); C23C 16/45574 (2013.01)] | 12 Claims |

|
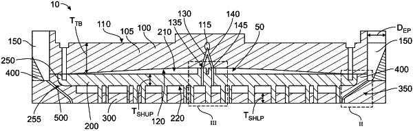
1. A dual channel showerhead assembly comprising:
a thermal base having a back surface and a front surface defining a thickness of the thermal base,
at least one first gas channel extending through the thickness of the thermal base to the front surface and at least one second gas channel extending through the thickness of the thermal base to the front surface;
a showerhead upper plate having a back surface and a front surface defining a thickness of the showerhead upper plate,
a portion of the back surface of the showerhead upper plate spaced a distance from a portion of the front surface of the thermal base to form an upper plenum,
the at least one first gas channel of the thermal base having an aperture in the front surface of the thermal base at the portion forming the upper plenum,
an outer peripheral region of the back surface of the showerhead upper plate in contact with an outer peripheral region of the front surface of the thermal base,
the at least one second gas channel of the thermal base having an aperture aligned with at least one second gas channel passing through the thickness of the showerhead upper plate to an aperture formed in the front surface of the showerhead upper plate,
the front surface of the showerhead upper plate having a plurality of spaced gas bosses extending from the front surface of showerhead upper plate, each of the gas bosses having a gas boss outer perimeter wall and a gas boss front surface,
the showerhead upper plate having a plurality of first gas channels extending from the back surface of the showerhead upper plate to an aperture in the gas boss front surface;
a showerhead lower plate having a back surface and a front surface defining a thickness of the showerhead lower plate,
a portion of the back surface of the showerhead lower plate spaced a distance from a portion of the front surface of the showerhead upper plate to form a lower plenum,
an outer peripheral region of the back surface of the showerhead lower plate in contact with an outer peripheral region of the front surface of the showerhead upper plate,
a plurality of lower openings extending through the thickness of the showerhead lower plate,
the plurality of lower openings aligned with the plurality of spaced gas bosses of the showerhead upper plate,
each of the plurality of lower openings having a lower opening wall sized to provide a gap between the gas boss outer perimeter wall and the lower opening wall to allow a flow of gas from the lower plenum to pass through the thickness of the showerhead lower plate: and
an outer ring around the thermal base having an inner diameter surface and a lower surface,
the inner diameter surface spaced a distance from an outer diameter surface of the thermal base to form an exhaust plenum,
wherein the outer peripheral region of the back surface of the showerhead lower plate is in contact with the lower surface of the outer ring.
|