| CPC B81C 99/0025 (2013.01) [B01L 3/502707 (2013.01); B29C 66/00145 (2013.01); B29C 66/028 (2013.01); B29C 66/95 (2013.01); B81C 3/001 (2013.01); H01J 37/32183 (2013.01); H01J 37/32568 (2013.01); H01J 37/32715 (2013.01); B01L 2200/12 (2013.01); B01L 2300/123 (2013.01); B29K 2683/00 (2013.01); B81C 2203/037 (2013.01); B81C 2203/051 (2013.01); H01J 37/32825 (2013.01); H01J 2237/20214 (2013.01); H01J 2237/20235 (2013.01); H01J 2237/20292 (2013.01)] | 21 Claims |

|
1. A PDMS bonding apparatus comprising:
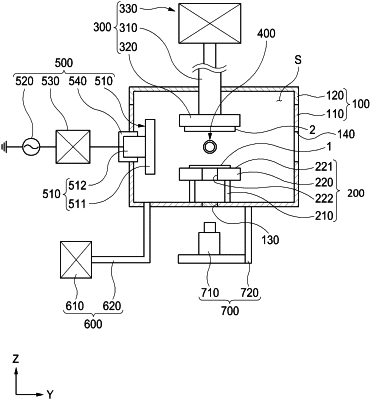
a process chamber (100) forming a sealed processing space(S) for bonding of PDMS (polydimethylsiloxane) with a chamber viewport (130);
a first support (200) comprising a first support plate (220), the first support (200) being installed in the process chamber (100) and which supports the PDMS (1);
a second support (300) comprising a second support plate (320), the second support (200) being installed in the process chamber (100) opposing the first support (200) and which supports a bonding object (2) which is bonded to the PDMS (1);
a gas injection unit (400) which ejects process gas between the first support (200) and the second support (300),
a plasma generator (500) which creates a plasma atmosphere within the process chamber (100), and a vacuum pump (610) which is installed in a manner connected with the process chamber (100) so that the processing space(S) maintains a vacuum state,
an aligning camera unit (700) which is installed outside the process chamber (100) on an imaginary straight line linking the PDMS (1) and the bonding object (2) and wherein the aligning camera unit (700) checks alignment of the PDMS (1) and the bonding object (2);
and wherein the first support plate (220) and the second support plate (320) are optically transparent.
|