| CPC B65H 29/14 (2013.01) [B65H 5/062 (2013.01); B65H 2404/63 (2013.01); B65H 2404/6942 (2013.01)] | 4 Claims |

|
1. An automatic document feeder, comprising:
a feeding path;
a pickup roller assembly arranged at an upstream of the feeding path for feeding documents into the feeding path;
an ejecting tray arranged at a downstream of the feeding path for loading ejected documents;
a paper feeding roller assembly arranged in the feeding path;
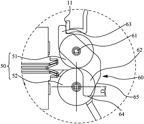
a paper ejecting roller assembly arranged at the downstream of the feeding path, the paper ejecting roller assembly including a first ejecting roller arranged at a top of the feeding path, and a second ejecting roller arranged at a bottom of the feeding path;
an anti-drawing arm arranged between the paper ejecting roller assembly and the ejecting tray, the anti-drawing arm including a pivot section coaxially connected to the first ejecting roller, a stopping section extended downward from the pivot section and extending into the feeding path, and a snapping section extended upward from the pivot section; and
a paper feeding motor driving the pickup roller assembly, the paper feeding roller assembly and the paper ejecting roller assembly,
wherein the snapping section is arranged to contact with a wall of the feeding path when the anti-drawing arm deflects downward by an own weight of the anti-drawing arm, one surface of the stopping section is defined as a smooth surface which is positioned adjacent to the downstream of the feeding path, a bottom of the stopping section has an end point, when the anti-drawing arm is deflected downward by the own weight of the anti-drawing arm, a position of the end point falls within a peripheral surface of the second ejecting roller, the smooth surface is located at a downstream of a contact point between the first ejecting roller and the second ejecting roller, and the smooth surface covers a position of the feeding path.
|