| CPC B64D 45/00 (2013.01) [G01P 13/025 (2013.01); B64D 2045/0085 (2013.01)] | 20 Claims |

|
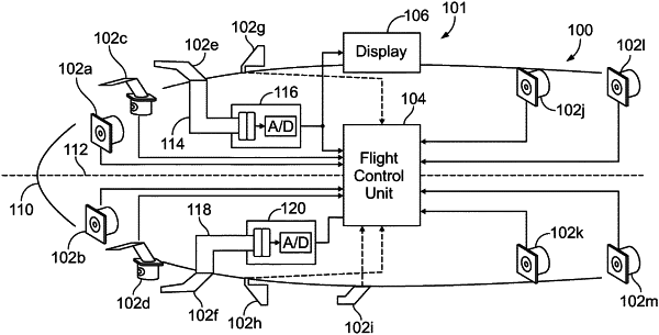
1. A system comprising:
air data sensors configured to detect one more characteristics of air surrounding an aircraft, wherein at least three of the air data sensors differ in type, and wherein the air data sensors are configured to output air data, wherein the air data sensors comprise:
one or more first flush mounted pressure sensors;
one or more multi-function probes (MFPs);
one or more pitot probes;
one or more angle of attack (AOA) vanes; and
one or more second flush mounted pressure sensors; and
a flight control unit in communication with the air data sensors, wherein the flight control unit is configured to:
receive the air data from the air data sensors and control at least one aspect of the aircraft based on at least a portion of the air data, and
vote in relation to the air data from the air data sensors, wherein the flight control unit is configured to vote redundant measurements of each type of air data sensor, and provide multiple voted signals of a given parameter to determine if any of the voted signals are corrupted.
|