| CPC B64D 1/18 (2013.01) [A01M 7/0042 (2013.01); B05B 1/30 (2013.01); B05B 13/005 (2013.01); G05D 1/49 (2024.01); G05D 1/6445 (2024.01); G05D 1/648 (2024.01); G05D 1/661 (2024.01); G05D 1/689 (2024.01); B64U 10/14 (2023.01); B64U 2101/45 (2023.01); B64U 2201/20 (2023.01); G05D 2107/21 (2024.01); G05D 2109/254 (2024.01)] | 20 Claims |

|
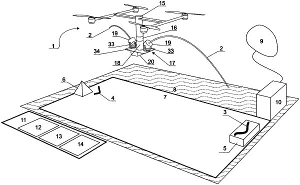
1. A method for delivering liquid by ejecting a directed continuous jet, the method comprising:
obtaining information about a processing site;
determining application areas based on the obtained information about the processing site;
delivering liquid by a controlled ejection of directed continuous jet onto determined application areas from an unmanned vehicle directed to them; and
maintaining of the unmanned vehicle by a service infrastructure,
wherein obtaining information about the processing site (7) is comprising formation of a plurality of reference objects (5,6), regarding which a set of application areas (3) and, accordingly, a set of application targets are determined,
wherein the unmanned vehicle, delivering liquid by a controlled ejection of directed continuous jet, is an unmanned aerial vehicle (1), and processing of application areas is performed by one or more unmanned aerial vehicles,
wherein, for each application target (3) a group of application parameters is specified, and, depending on the application target and parameters specified for it, a set of application trajectories (44) with a series of controlled ejections of directed continuous liquid jets (2) is determined by a segment of a continuous line in space, at each point of which mutual position and mutual orientation of the unmanned aerial vehicle(s) (1) and the target (3,4) and a direction of the continuous jet ejection are provided, which together ensure the target (3,4) being reached by the directed continuous jet (2) in any of the jet phases (21,22) specified by the application parameters,
wherein processing of application targets (3,4) in accordance with the specified application parameters is performed by series of one or more controlled ejections of directed continuous liquid jets (2) from the unmanned aerial vehicle (1) in motion along the selected application trajectory (44) for the targets (3,4) on a route (50), generated for given unmanned aerial vehicle (1),
wherein delivery of the liquid is controlled by setting or correcting direction and, optionally, the speed and duration of the ejection of a directed continuous liquid jet (2),
wherein the motion of unmanned aerial vehicle (1) along the target application trajectory (44) is defined as an application state (44), the motion of the unmanned aerial vehicle (1) between the application trajectories is defined as a transit state (54), and other motions are defined as a maintenance state (53), and the presence of unmanned aerial vehicle (1) in a stationary state on one of service sites defined as idle state (51,52), wherein sequence of states of unmanned aerial vehicle, beginning and ending with the idle state (51,52), is determining the route (50) of the unmanned aerial vehicle, and according to application states comprising the route, the set of targets (3,4) corresponding the route (50) is determined, and wherein processing of set of targets (3,4) is performed by one or more unmanned aerial vehicles (1) during one session, comprising of one or more routes (50), each being assigned for processing a subset of targets (3,4) by one of unmanned aerial vehicles, by including appropriate application states in its route (50),
wherein for a route (50) with two or more application states such application trajectories (44) are selected from a set of possible application trajectories that are capable to fit into the shortest and straightest route (50), optimally, with a constant heading speed of the unmanned aerial vehicle (1) along its longest part,
wherein for session of processing a set of application targets (3,4), determined relative to stationary reference objects (5,6), by one or more unmanned aerial vehicles (1), the following is determined:
weight coefficients for the stay of unmanned aerial vehicle (1) in each state of the unmanned aerial vehicle during the selected unit of time;
amplifying multipliers for intervals of motion with acceleration; and
weakening multiplier, inversely proportional to the remaining amount of unused liquid,
wherein delivery paths are determined, which are collectively grouped into a plurality of routes (50), characterized by the minimum sum over the routes of integral values over time of the product of weight coefficients by amplifying and weakening multipliers along individual routes (50), and
wherein a liquid for delivering by the controlled ejection of the directed continuous jet comprises an active application agent and, optionally, a marker substance, capable of confirming the fact of delivery of liquid to the target (3,4), equipping the unmanned aerial vehicle (1) with linked with the controller (16) for detecting the presence of marker substance on the target and/or reference object; and the reference objects (5,6) and/or application targets (3,4), defined relative to them, are optionally marked with marker substances prior to application, supplementing a group of application parameters with an indicator of the need for processing, when detecting the marker substance on the target (3,4) and/or reference object (5,6), with respect to which it is determined; wherein the liquid itself is used as the marker substance, if its presence on the reference object (5,6) and/or target (3,4) is detectable, or the marker substances are added to the liquid.
|