| CPC B62D 29/002 (2013.01) [B62D 25/00 (2013.01)] | 12 Claims |

|
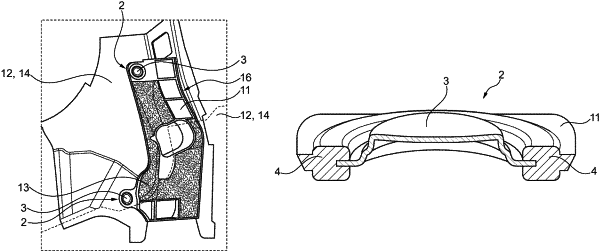
1. A reinforcing element for reinforcing a structural element in a motor vehicle, comprising:
a carrier;
an expandable material, the expandable material being arranged at least partially on the carrier;
at least two fixation elements that are connected with the carrier, the fixation elements each comprising a circular metallic tab with an essentially flat central section adapted for welding, and the fixation elements being arranged in such a way that the reinforcing element is fixable to the structural element with a weld connection between the tabs and the structural element;
wherein the circular metallic tabs are dome shaped and are enclosed by material of the carrier; and
wherein the fixation elements are arranged in a peripheral area of the carrier.
|